A Recharge T5 mellé érkezik a Recharge T4 jelzésű hálózatról tölthető hibrid hajtás, és vele együtt jönnek a B4 és B5 lágyhibrid hajtások is.
Nincs remekebb…
A lakókocsis nyaralás előkészületeiről szóló írás először az Autó-Motor 1984/21-es számában jelent meg.
Idő előtt: a Toyotának átemblémázott Suzuki Vitara
Indiában augusztus 22-étől lehet megvásárolni a Toyota Urban Cruiser nevű szabadidő-autót, ami egy átmárkázott Suzuki Vitara Brezza.
Döbbenetes hűtőrácsokat villant a BMW a versenypályán
Az új BMW M4-es kupét és az M4 GT3 versenyautót egymás mellé állítva próbálja mérsékelni a sokkhatást a BMW. De még így is óriásiak azok a vesék.
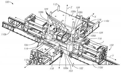
Forradalmasítja az autók gyártástechnológiáját a Tesla
A karosszériagyártás folyamatát egyszerűsíti – és teszi olcsóbbá – a Tesla által szabadalmaztatott óriási méretű prés.
Élesebb lett a Subaru kombija
Bemutatkozott a Levorg új generációja, és vele együtt a márka aktuálisnál élesebb vonalvezetése is.
Karosszériatuning a Taycan számára
A német Prior Design kerékjárat-szélesítésekkel és hatalmas hátsó szárnnyal fokozza a Porsche Taycan megjelenését.
Álca nélkül: Hyundai Custo, a koreaiak óriási egyterűje
Kifejezetten a kínai piac számára készíti a nyújtott megjelenésű, tolóajtókkal rendelkező egyterűjét a Hyundai.
A bosszúság cseppjei – Vízkárok az autóban
A hirtelen lezúduló esőben súlyos károkat szenvedhetnek az autók, különösen, ha valaki meggondolatlanul vezet. Vannak persze más beázós buktatók is.
Egyszerű és sokoldalú a Katalis elektromos segédmotorja
Az indonéz Katalis eredetileg reklámcég, aztán mégis akkumulátoros-elektromos segédmotorkerékpárt tervezett.